전화번호 070-8648-2392
Patentall

특허(기계금속)

중수로 핵연료 교환설비의 분리기 포텐쇼미터 절연유 충유 장치 및 이를 이용한 충유 방법 요약정보 및 구매

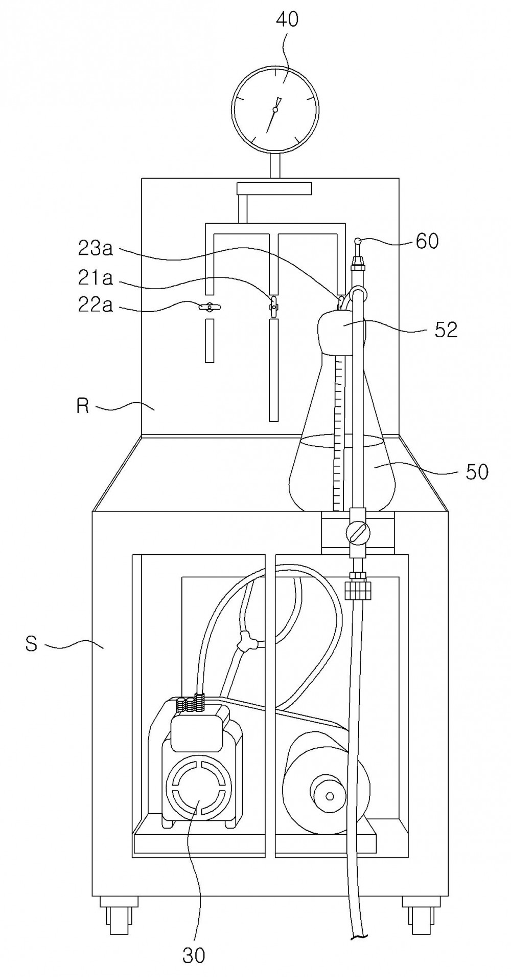
중수로 핵연료 교환설비의 분리기 포텐쇼미터 절연유 충유 장치가 제공된다. 본 발명의 일 측면에 따르면, 중수로 핵연료 교환설비의 분리기 포텐쇼미터에 절연유을 충유 하기 위한 중수로 핵연료 교환설비의 분리기 포텐쇼미터 절연유 충유 장치에 있어서, 포텐쇼미터 내부로 공급되기 위한 절연유가 보관되는 오일탱크; 오일탱크에 연결되어 포텐쇼미터로 공급되는 절연유를 가이드 하는 가이드 파이프; 가이드 파이프를 통해 이동되는 절연유에 거품이 발생하지 않도록 가이드 파이프 내부를 진공상태로 유지 시켜주는 진공 펌프; 가이드 파이프의 일측에 형성되어, 가이드 파이프 내부의 진공 상태를 표시해주는 컴파운드 게이지; 절연유가 주입되기 위한 주입구와, 절연유가 배출되기 위한 배출구가 구비되되, 가이드 파이프를 통해 주입된 절연유가 보관되는 오일 플라스크; 오일 플라스크의 배출구에 연결되어 오일 플라스크 내부로 주입된 절연유를 포텐쇼미터에 공급해주는 공급 밸브;를 포함하는 중수로 핵연료 교환설비의 분리기 포텐쇼미터 절연유 충유 장치가 제공된다.

상품 선택옵션 0 개, 추가옵션 0 개

판매가격 1,000,000원 1,500,000원
구매 방법 전화 문의, SMS, 이메일
배송비결제 주문시 결제

상품 정보

상품 기본설명

중수로 핵연료 교환설비의 분리기 포텐쇼미터 절연유 충유 장치가 제공된다. 본 발명의 일 측면에 따르면, 중수로 핵연료 교환설비의 분리기 포텐쇼미터에 절연유을 충유 하기 위한 중수로 핵연료 교환설비의 분리기 포텐쇼미터 절연유 충유 장치에 있어서, 포텐쇼미터 내부로 공급되기 위한 절연유가 보관되는 오일탱크; 오일탱크에 연결되어 포텐쇼미터로 공급되는 절연유를 가이드 하는 가이드 파이프; 가이드 파이프를 통해 이동되는 절연유에 거품이 발생하지 않도록 가이드 파이프 내부를 진공상태로 유지 시켜주는 진공 펌프; 가이드 파이프의 일측에 형성되어, 가이드 파이프 내부의 진공 상태를 표시해주는 컴파운드 게이지; 절연유가 주입되기 위한 주입구와, 절연유가 배출되기 위한 배출구가 구비되되, 가이드 파이프를 통해 주입된 절연유가 보관되는 오일 플라스크; 오일 플라스크의 배출구에 연결되어 오일 플라스크 내부로 주입된 절연유를 포텐쇼미터에 공급해주는 공급 밸브;를 포함하는 중수로 핵연료 교환설비의 분리기 포텐쇼미터 절연유 충유 장치가 제공된다.

상품 상세설명

eda15c0be73cd4bd6f153182bb62a0ac_1715078012_0392.png
 

상품문의

등록된 상품문의

상품문의가 없습니다.

교환/반품

평가 사항 입력 전입니다.